Suzuki Ajukan Paten Motor Konsep Hybrid
Revolusi sepeda motor terus berdatangan di bulan Juli 2020 ini. Salah satunya dari Suzuki yang tengah merancang masa depan dengan motor hybrid.

Revolusi sepeda motor terus berdatangan di bulan Juli 2020 ini. Salah satunya dari Suzuki yang tengah merancang masa depan dengan motor hybrid. Tampaknya pabrikan sepeda motor tengah memikirkan tenaga hybrid sebagai teknologi masa depan yang layak digunakan.
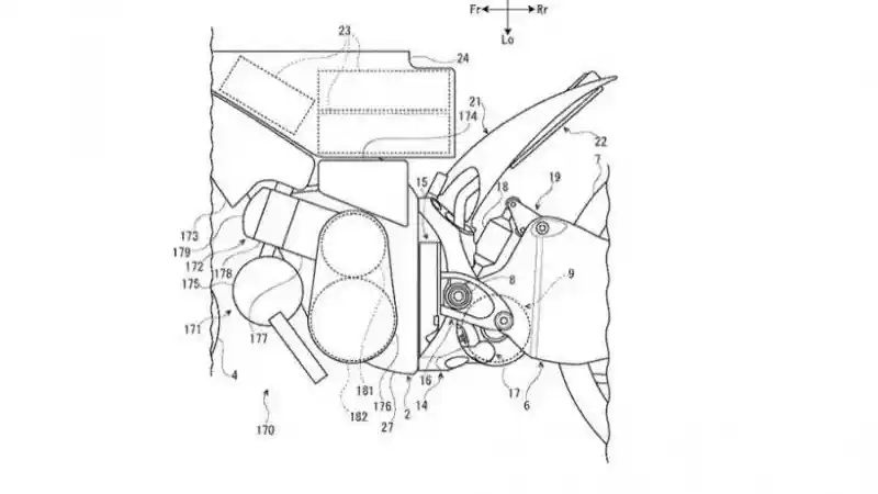
Dilansir dari Visordown, desain paten yang dimiliki Suzuki adalah sebuah hybrid yang menggabungkan mesin bensin dan motor listrik. Pada mode listrik, motor ini akan menggunakan baterai besar yang terletak di bawah rangkanya. Mode listrik akan menggunakan tenaga elektrik murni dari sumber daya baterai.
Baca Juga: Yamaha NMax Kembali Bikin Heboh Karena Kemasukan Ular
Metode konstruksi alternatif juga terlihat dalam gambar yang menunjukan sebuah ruang pembakaran kecil. Pada mode ini, membuat motor dapat bergerak secara hibrida alias gabungan mesin bensin dan motor listrik. Namun mesin bensin tidak menggerakan roda secara langsung, melainkan hanya bertindak sebagai generator.

Walaupun gambar paten yang muncul ini tidak memberikan indikasi jelas soal produk motor dari Suzuki. Setidaknya Suzuki dapat menunjukan keseriusannya dalam teknologi tersebut. Bahkan tidak menutup kemungkinan paten ini akan masuk ke dalam jalur produksi.
Baca Juga: Kawasaki Ninja H2SX Diduga Dapatkan Fitur Adaptive Cruise Control
Sedihnya mungkin penggemar roda dua harus menunggu beberapa saat untuk melihat wujud nyata dari paten tersebut. Mengingat sejumlah pameran otomotif dunia seperti Intermot, EICMA, dan Tokyo Motor Show dibatalkan. Sehingga sangat kecil kemungkinannya untuk melihat motor konsep dalam waktu dekat.










