Terungkap! Bocoran Gambar Paten Knalpot Suzuki Intruder 250
Bocoran gambar paten teknologi sistem pembuangan milik Suzuki Intruder 250 terungkap ke publik. Bagaimana detail lengkapnya?

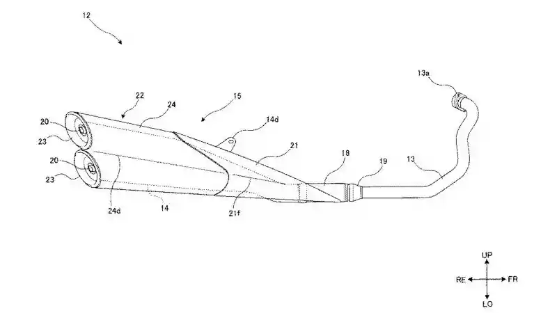
Bocoran gambar paten teknologi sistem pembuangan milik Suzuki Intruder 250 terungkap ke publik. Kabarnya, Suzuki telah mengajukan permohonan paten tersebut sejak November 2018 lalu.
Baca Juga: Daftar Harga Motor Matik Di Bawah 150 cc Semua Merek (Juni 2020)
Dilansir dari IndianAutosBlog, generasi terbaru dari Intruder 250 diduga akan segera diluncurkan. Sebelumnya, Suzuki sendiri telah merilis dua produk barunya, yakni Gixxer 250 dan Gixxer SF 250 di India.

Berdasarkan gambar paten yang beredar, desain knalpot memperlihatkan adanya dua buah lubang pembuangan yang dipadu dengan sebuah header. Desain kali ini juga menunjukkan penampilan yang sederhana namun tetap menarik perhatian.

Urusan performa, Intruder 250 kabarnya akan mengandalkan mesin berkapasitas 249 cc. Mesin ini mampu menghasilkan tenaga sebesar 26,1 dk pada 9.300 rpm dan torsi 22,2 Nm pada 7.300 rpm. Keseluruhan tenaga ini kemudian dialirkan melalui sistem transmisi 6-percepatan.
Baca Juga: Hadir dengan Gaya Cruiser, Suzuki Luncurkan Intruder di India
Sayangnya, belum ada informasi lebih lanjut terkait waktu peluncuran motor ini. Teranyar, Suzuki baru saja merilis Intruder 155 beberapa waktu lalu untuk pasar roda dua India yang dijual seharga Rp 23 jutaan.










