Bergaya Retro, Honda Kembangkan Motor Listrik Berbasis CB125R?
Sebuah gambar paten produk terbaru dari pabrikan Honda muncul ke publik dengan mengambil basis dari motor bergaya retronya, CB125R.

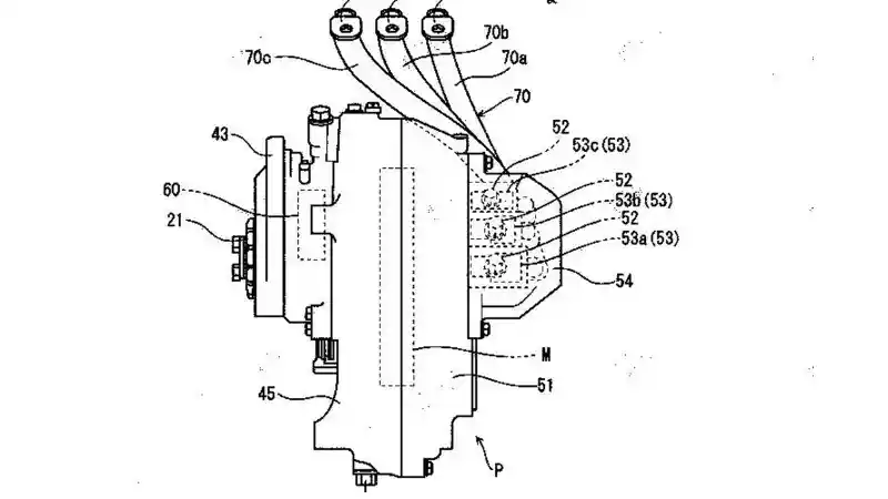
Sebuah gambar paten dari pabrikan Honda muncul ke publik dengan mengambil basis dari motor bergaya retronya, CB125R. Alih-alih menggunakan mesin bakar, gambar paten tersebut memperlihatkan jika motor bertampang klasik ini bakal mengandalkan penggerak bertenaga listrik.
Baca Juga: Harga Terbaru Yamaha Aerox Semua Varian, Mulai Dari Rp 24 Jutaan
Motor ini, seperti dikutip dari Visordown, dibekali dengan dapur pacu pembangkit listrik yang sangat kecil dan ringan. Jantung pacu ini pun terlihat memiliki ukuran yang sesuai dengan rangka dari CB125R tersebut.

Sementara itu, komponen rangka, suspensi, dan sistem pengeremannya tampaknya tak memiliki ubahan signifikan. Namun, tentu saja bagian rangka nantinya akan mendapatkan penyesuaian untuk meletakkan komponen baterai dan motor listriknya.

Kabarnya, motor listrik ini akan memiliki keluaran tenaga yang lebih besar dibandingkan dengan mesin bakar berkapasitas 125 cc-nya. Menariknya lagi, gambar ini sudah memperlihatkan sekitar 75 persen bentuk konstruksinya. Sehingga, jika motor listrik tersebut mulai diproduksi, maka tampilannya tentu akan sangat berbeda dari motor listrik yang ada saat ini.
Baca Juga: Resmi! MotoGP Portugal Jadi Seri Penutup Musim 2020
Sayangnya, belum ada informasi lebih lanjut mengenai komponen kelistrikan yang digunakan di gambar paten ini. Meskipun demikian, tentunya motor ini bisa menjadi salah satu produk kendaraan listrik yang menarik untuk ditunggu. Bagaimana menurut Anda?










