Kawasaki Diketahui Kembangkan Mesin Motor Hybrid
Kawasaki diketahui tengah mengembangkan sebuah motor listrik belakangan ini. Namun kali ini terdapat paten desain pabrikan hijau itu yang bocor ke publik.

Kawasaki diketahui tengah mengembangkan sebuah motor listrik belakangan ini. Namun kali ini terdapat paten desain pabrikan hijau itu yang bocor ke publik. Alih-alih sebuah paten motor listrik, paten ini justru menunjukkan sebuah pengembangan mesin hybrid.
Dilansir dari Bennetts.co.uk, disebutkan Kawasaki tidak berniat untuk memproduksi motor listrik secara masal. Sejak beberapa tahun ini, pabrikan hijau itu memang mengajukan banyak paten untuk membuat motor hybrid. Artinya motor akan menggabungkan mesin bensin dan penggerak listrik untuk mendapatkan performa, efisiensi, sekaligus mengurangi emisi.
Baca Juga: Bocoran Skuter Listrik Keeway E-Zi Plus, Bisa Ngebut 45 Km/Jam
Memang dari desain paten yang bocor tidak memperlihatkan model pengembangan tersebut. Laporan menunjukkan gabungan mesin bensin dan penggerak listrik ini dapat menggunakan transmisi konvensional. Sehingga motor ini dapat memberikan tenaga secara independen pada masing-masing percepatan.

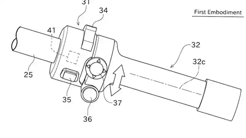
Uniknya, paten tersebut menunjukkan sebuah tombol yang berperan untuk mengaktifkan dorongan tenaga. Tombol ini disebutkan seperti memberikan tenaga tambahan ketika pengendara memelintir tuas gas. Menariknya tombol tersebut akan mengikuti putaran gas meskipun tuas gas sudah dipelintir habis-habisan.
Baca Juga: Tes Akselerasi Kymco GP 125, Seberapa Kencang?
Hingga kini, pihak Kawasaki belum mengeluarkan keterangan resminya terkait paten yang beredar ini. Tidak terdapat garansi yang memastikan teknologi yang disebutkan di atas akan sampai ke tahap produksi. Namun dengan adanya tujuh paten yang diajukan Kawasaki, tampaknya raksasa hijau ini sangat serius pada pengembangannya.
Sebagai tambahan informasi, teknlogi motor hybrid bukanlah sesuatu yang baru. Mengingat di Indonesia sudah sangat familiar dengan Honda PCX Hybrid. Bahkan motor tersebut sudah meluncur sejak beberapa tahun silam di tanah air.







_2024_6fk5.webp)


