Kawasaki Kembangkan Motor Sport Fairing Aneh
Pabrikan motor asal Jepang, Kawasaki terbilang gemar melakukan inovasi nyeleneh. Mulai dari aplikasi supercharger pada Ninja H2, dan yang terbaru adalah sketsa di atas.

Pabrikan motor asal Jepang, Kawasaki terbilang gemar melakukan inovasi nyeleneh. Mulai dari aplikasi supercharger pada Ninja H2, dan yang terbaru adalah sketsa di atas.
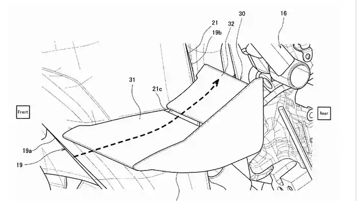
Pada gambar sketsa yang masuk ke badan paten Eropa pekan ini, motor baru Kawasaki di atas benar-benar mencoba sesuatu yang baru lewat inovasi desain fairing yang mirip paruh burung.

Namun alih-alih keren, tampilannya justru aneh karena ukuran fairing yang terlalu besar di bagian depan yang memanjang melebihi ujung spakbor. Sedangkan bagian bodi belakang malah dibuat kecil dengan sudut tajam minimalis.
Tak hanya itu, pada bagian bawah fairing, tepatnya di depan mesin. Ada sepasang sayap, mirip kepunyaan Ninja H2R yang memiliki kelebihan dalam menambah daya aerodinamis pada motor berkat kemampuannya bergerak menyesuaikan kecepatan.

Sayangnya, tak ada penjelasan mengenai mesin yang bakal diusungnya. Namun yang pasti, wujudnya akan unik! (otorider.com)










