Harley-Davidson Kembangkan Teknologi Self-Balancing
Harley-Davidson telah mengajukan sebuah paten untuk mekanisme keseimbangan motor. Uniknya paten keseimbangan ini dibuat dengan mencocokkan penempatan top box motor.

Harley-Davidson telah mengajukan sebuah paten untuk mekanisme keseimbangan motor. Uniknya paten keseimbangan ini dibuat dengan mencocokkan penempatan top box motor. Tentunya teknologi ini akan sangat berpengaruh bagi pengguna baru Harley-Davidson.
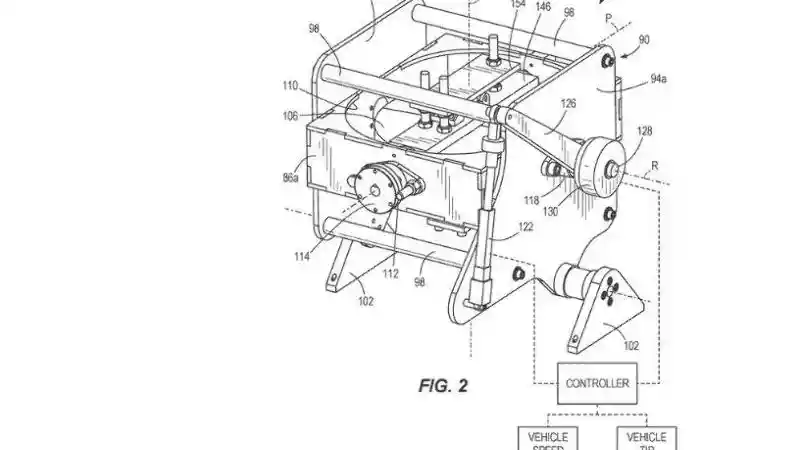
Dilansir dari Visordown, sistem teknologi penyeimbang Harley-Davidson terdiri dari high-speed flywheel yang ditempatkan pada gimbal dengan dua sumbu. Sekalinya melaju pada kecepatan tertentu membuat motor seperti Harley dapat dengan mudah diseimbangkan. Artinya sistem ini akan bermain pada kecepatan berjalan, kecepatan lambat, bahkan membantu keseimbangan saat berhenti.
Baca Juga: Jelang New Normal, Bajaj Diusulkan Jadi Transportasi Alternatif
Tampaknya teknologi mekanis ini berbeda dengan IMU seperti yang banyak ditemukan pada sepeda motor saat ini. Kabarnya teknologi Harley-Davidson ini mampu menyeimbangkan motor pada putaran 20.000 rpm. Bahkan dengan bobot yang sangat berat itu, teknologi ini tetap dapat menjaga kestabilan motor.

Cara kerja teknologi keseimbangan Harley-Davidson ini membutuhkan kecepatan tertentu untuk mengaktifkannya. Saat motor mulai berjalan, teknologi ini mempersiapkan diri untuk menyeimbangkan motor pada kecepatan rendah. Kemudian sistem akan mengunci dua sumbu gimbal dan mengkoneksikannya kepada aktuator.
Baca Juga: Gambar Konsep CBR 250 Empat Silinder Muncul Ke Publik
Aktuator ini dikendalikan oleh komputer, memungkinkannya bergerak ke kiri dan kekanan. Gerakan ini dilakukan untuk melawan semua gerakan yang tidak diinginkan pada saat kecepatan rendah. Dengan teknologi ini jika pengendara kehilangan stabilitas ketika hendak berhenti, maka tidak akan terjadi masalah.




_bengkulu_2026_nhqj.webp)





