Honda Patenkan Fitur Airbag Vertikal untuk Motor
Honda telah membuat panten fitur keamanan airbag pada sepeda motor. Seperti apa sistem airbag yang dipatenkan oleh Honda untuk produk motornya?

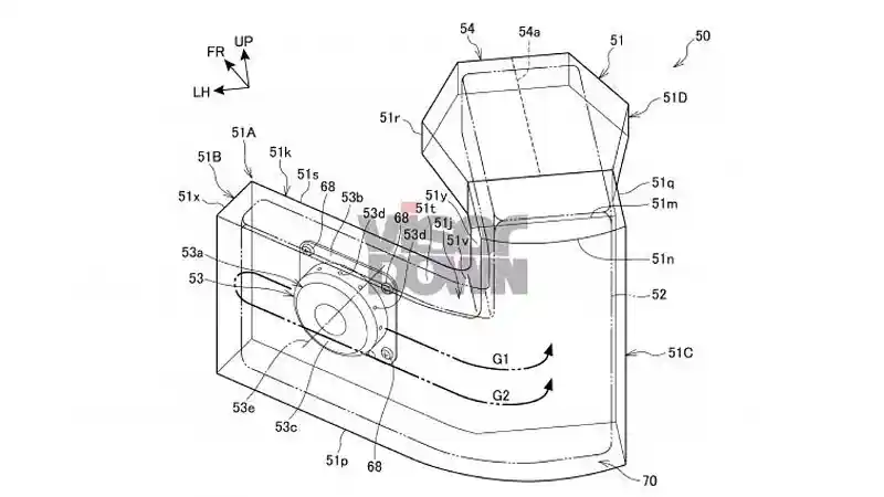
Pabrikan Honda baru saja mematenkan sistem airbag untuk motor yang akan mengembang secara vertikal di depan pengendara. Nantinya, sistem ini akan bekerja seperti airbag pada umumnya. Gas akan terkompresi untuk mengembangkan kantung udara saat terjadi kecelakaan.
Dilansir dari Visordown, ide menyematkan fitur airbag sendiri muncul sudah sedari sistem airbag itu ada. Namun, masalah utamanya pada motor adalah ketersediaan ruang untuk mengemasnya yang tidak seluas mobil.
Baca Juga: Dani Pedrosa Berikan Kemajuan Pesat pada Tim Red Bull KTM
Sistem airbag yang baru didaftarkan Honda sendiri menunjukkan komponen kecil yang cukup kompak, sehingga bisa dipasang di bagian depan bodi motor atau bahkan model skuter. Lalu, bagaimana cara kerjanya?

Sistem airbag akan terpasang pada bagian depan motor. Ketika sistem mendeteksi adanya kecelakaan, maka airbag akan mengembang untuk melindungi pengendara dari benturan frontal. Berdasarkan gambar yang beredar, sistem tersebut seolah bisa membantu bagian atas atau melindungi kepala pengendara agar terhindar dari benturan.
Baca Juga: Hal-Hal yang Membuat Motor Matik Tetap Awet. Sudahkah Dilakukan?
Meskipun ide penggunaan airbag di motor terlihat tidak mungkin, namun Honda merupakan salah satu pelopor teknologi dalam berkendara semacam ini. Sistem ini sendiri sudah disematkan pada salah satu motornya, yakni Honda Gold Wing Tour DCT Airbag. Menarik untuk ditunggu kapan fitur keselamatan ini ditanamkan pada motor masal Honda lainnya.











