Terkuak! Kawasaki Akan Ciptakan Motor Roda Tiga
Sebuah desain kemunculan motor roda tiga Kawasaki mencuat ke publik. Terlihat dalam gambar desain yang beredar, motor ini akan menggunakan dua roda di depan dan satu di belakang.

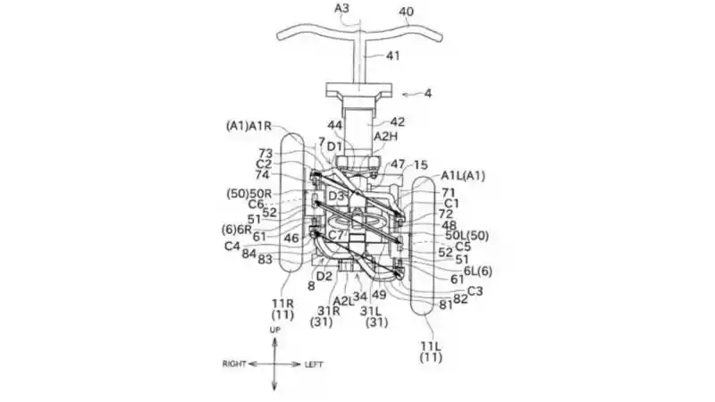
Sebuah desain kemunculan motor roda tiga Kawasaki mencuat ke publik. Terlihat dalam gambar desain yang beredar, motor ini akan menggunakan dua roda di depan dan satu di belakang.
Motor beroda tiga tentunya bukan menjadi hal baru di dunia otomotif. Sebelumnya sudah ada Yamaha Niken dan Tricity-nya.
Baca Juga: Sempat Dilanjutkan, MotoGP Thailand Akhirnya Resmi Ditunda
Berdasarkan desain, Kawasaki tampaknya menggunakan sistem roda depan yang dapat bergerak secara independen. Artinya, setiap rodanya akan bergerak masing-masing untuk menjaga keseimbangannya.

Dilansir dari Visordown, motor roda tiga Kawasaki ini terlihat memiliki desain yang lebih sporty dibandingkan pesaing lainnya. Kesan sporty terlihat dari posisi duduknya yang sedikit menunduk serta stang yang cukup rendah.
Baca Juga: Masih Lakukan Ini Saat Melakukan Pengereman Motor? Begini Efeknya
Namun sayangnya, belum ada bocoran terkait mesin yang digunakan. Desain ini juga bisa menguatkan bahwa Kawasaki akan mengembangkan motor J Concept-nya yang hadir pada 2018 lalu.
Pada motor J-Concept sendiri Kawasaki menggunakan mesin bertenaga listrik. Akankah Kawasaki akan melanjutkan pembuatan motor tersebut? Menarik untuk ditunggu kejutan apa yang akan diberikan pabrikan berciri khas hijau ini.











