Paten Terungkap Yamaha TMax Dikawinkan Mesin Hybrid!
Yamaha dikabarkan tengah menyusun dua paten berbeda pada pusat penggerak yang berbeda. Keduanya menampilkan Yamaha TMax dengan menggunakan penggerak hybrid yang membantu crankshaft.

Yamaha dikabarkan tengah menyusun dua paten berbeda pada pusat penggerak yang berbeda. Keduanya menampilkan Yamaha TMax dengan menggunakan penggerak hybrid yang membantu crankshaft. Sementara satunya lagi penggerak hybrid membantu ke transmisi.
Dilansir dari Visordown, tidak terdapat indikasi dari gambar paten untuk dapat melihat teknologinya dalam waktu dekat. Namun dalam bentuk gambar paten, sangat cocok dengan skuter maxi generasi terbaru TMax. Detail yang ditunjukkan dalam paten berkaitan dengan teknologi yang sedang dalam tahap pengembangan yang maju.
Baca Juga: Pertamina Punya Layanan Tukar Baterai Motor Listrik, Dimana Saja?
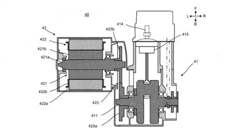
Sesuai namanya hybrid, maka memiliki dua jenis sumber tenaga untuk menggerakan motor, yakni mesin pembakaran internal dan motor listrik. Pada gambar paten hyrid crankshaft, penggerak listrik akan terhubung langsung dengan crank. Pada sistem ini hanya ada satu hubungan antara mesin dan penggerak listrik yang menghasilkan output mesin.

Dengan sistem hybrid pada crankshaft, maka transmisi konvensional dapat digunakan. Dengan demikian sistem mesin dan hybrid akan bekerja selaras satu sama lain. Sehingga dapat mempertahankan torsi, tenaga, dan RPM yang konsisten.
Baca Juga: Presiden Jokowi Targetkan 2 Juta Kendaraan Listrik di 2025
Kemudian dalam paten kedua, Yamaha membuat sistem penggerak hybrid dipasangkan ke lengan ayun dan sistem transmisi motor. Sementara mesin bebas dibiarkan cukup standar dalam gamber paten ini. Di sisi lain, transmisi dan swingarm harus diperbarui secara signifikan untuk menerima penggerak hybrid.
Lantas, kenapa TMax menjadi titik awal sebuah proyek hybrid? Pertama karena kemasannya sebuah skuter maxi yang memberikan pabrikan segudang pilihan. Skuter maxi juga memiliki ruang penyimpanan yang besar di bawah jok. Meskipun menghabiskan ruang penyimpanan membuat produk menjadi tidak lagi ideal, namun tetap lebih mudah dilakukan.










